Views: 92 Author: Site Editor Publish Time: 2019-05-13 Origin: Site
Here we mainly talk about the safe operation of CNC spindle less veneer peeling machine.
The CNC digital spindle less veneer peeling machine is a device that rotates the straightened logs or the remaining wooden cores from the spindle veneer peeling machine.
This equipment is generally fixed by double rollers, and the peeling knife moves linearly along parallel tracks. This kind spindle less veneer peeling machine adopts an advanced numerical control system, which can calculate the transmission ratio of each part according to the current diameter of the log, the rotation speed of the friction roller, and the required thickness of the veneer to produce high quality veneer.
一、Main parts of veneer peeling machine:
1、computer control box: complete the entire control function of the device
2、the console: the transmission of signals to the control box to achieve the function of the operating equipment
3、Automatic guide roller: The wooden core that has been cut is removed from the knife joint
4、automatic adjustment knife joint bracket: used to fix the single roller drive assembly, and complete the function of adjusting the knife gap
5、Automatic adjustment of the seam track: used to adjust the stroke of the single-roller table before and after the movement, to complete the change of the diameter of the log from the large change to the automatic adjustment of the slit during the rotary cutting
6、Rotary clipper motor:used to drive the boring tool to realize the function of cutting the board
7、Rotary clipper reducer: power reduction section of the rotary clipper
8、Conveyor motor :Used to drive the belt to rotate to realize the function of transfer veneer
9、Conveyor reducer:Transmission belt motor deceleration section
10、Double roller motor:Used to drive the double friction roller to realize the rotation of the double friction roller to drive the rotary cutting wood to make the rotary motion
11、Double roller reducer:Deceleration part of the power of the transmission double roller motor
12、Single-double roller:Contact with logs and the carrier that rotates the logs
13、Feeding motor:Used to drive the screw rotation to drive the rotary cutter to move back and forth
14、Feeding reducer:Deceleration part of the drive feed motor power
15、Feeding screw:The drive feed power is the key part to realize the rotation of the rotary cutter. The double pitch improves the accuracy of the rotary cutter movement and ensures the uniform thickness of the veneer.
16、Single-roller motor: used to drive a single friction roller to realize single-friction roller rotation to drive rotary cutting logs for rotary motion
Single-roller reducer: the deceleration part of the power of the single-roller motor
二、Safe operation of veneer production line:
Most of the accidents that occur in the equipment are caused by the operator not operating in strict accordance with the operating procedures.
The principle that the operator must abide by is that the equipment must not be wiped, lubricated or maintained during operation. The power supply must be cut off during maintenance. The grounding of the equipment power supply must be checked.
The following principles must be observed before operating the machine:
1、The maintenance of the equipment must be carried out by trained, healthy, adaptable personnel who can do the job reliably.
2、People who drink alcohol, take drugs or the like are not allowed to operate, maintain and repair the device。
3、Before starting the equipment, the operator should check that all safety facilities are normal and check the equipment for obvious defects.
4. If the equipment has any defects, especially those related to safety operation procedures, the operator should immediately report to the leader or notify the person in charge of the maintenance.
5. If the equipment problem is in crisis operation, the equipment must stop running immediately, cut off the power supply, and make a warning sign on the equipment.
6. When the equipment is being repaired or other work, all personnel involved should be informed that if the equipment must be powered, a special person should take care of the power switch.
7. This equipment can only be used for the purpose of rotary cutting wood designed by the manufacturer.
8. The technical improvement of the equipment will affect the operation and safety of the equipment. It must be carried out by the manufacturer or authorized personnel of the manufacturer. Otherwise, the manufacturer is not responsible for the losses caused by the modification.
9. If the safety equipment cannot be guaranteed to operate normally during installation, repair or repair, it must be carried out by a professional licensee who must ensure personal injury and equipment damage.
10, do not wear rings, watches, jewelry, necklaces, loose ticket hanging clothing, such as ties, torn clothes, ordinary shoes, unbuttoned tops or unzipped zipper may be scraped by the moving parts of the device live. Protective clothing that is approved to prevent accidents should be worn.
11. When cleaning the equipment, be sure to stop the power supply, take care to prevent cuts, and use appropriate methods for cleaning.
12. Do not operate the equipment if the equipment is sick, the indicator light is on, and the control unit is faulty.
13. Before starting the equipment, ensure that all components are installed correctly, no parts are damaged, and the functions of each operation button are clearly understood. All other objects (cloths, tools, irons, etc.) that are not related to the machine should be removed from the equipment.
14. The power supply voltage is higher than the voltage range required by the equipment. Do not send power to the equipment, otherwise the electrical components will be damaged.
15. After the electrical control system is energized, it is very dangerous to charge the electrical components. Non-professionals should not touch it to avoid the risk of electric shock.
16. During the rotary cutting process, the host should be stopped first, and the logs should be allowed to be turned on.
17. During the operation of the equipment, it is strictly forbidden to use dangerous tools such as maintenance tools and cleaning tools, and it is not allowed to reach out to the equipment casually.
18. During the rotation process, all rotating parts should not be touched by hand. Non-operators are prohibited from approaching. It is forbidden to remove or open the cover.
19. When the equipment is lubricated, it is forbidden to touch the equipment directly by hand.
20. Rotate the wood to the end and use the small wooden shaft or other objects to knock off the remaining wooden shaft. It is not advisable to touch the wooden shaft by hand.
21, equipment operation should be responsible for the person, other personnel can not be hands-on, to avoid the risk of operational errors. The operator must work on a stable, well-balanced ground and must ensure good lighting in the equipment workplace.
22. Do not let the equipment operate without being looked after.
23. When the equipment is running, pay attention to whether there is abnormal sound. If an abnormality occurs, stop the machine immediately, cut off the power supply, and find out the cause of the fault and eliminate the power test.
24. If the operation is not normal, notify the person in charge of maintenance. All repairs and maintenance must be carried out in accordance with the accident prevention practices in the safety regulations in this manual.
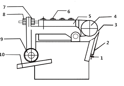
三、Adjust the height of the rotary cutter
1.Knife height adjustment screw 2, rotary cutting blade 3, knife slit 4, single friction roller 5, single roller table assembly 6, single friction roller table fixing bolt 7, single friction roller table assembly front adjustment nut 8, single friction Adjusting nut after roller table assembly 9, automatic adjusting seam bracket sliding bearing 10, automatic adjusting seam track
Step 1. Confirm that the knife height is up to the standard position (the normal standard knife height is 103 mm)
Step 2. Loosen the fixing bolts (numbered 6 in the figure) that are fixed to the single row on both sides of the single roller.
Step 3. When the cutter bed is opened to the computer monitor and the wood diameter is 60 mm, measure the size of the slit and cut the thickness of the wood. (If the thickness of the veneer is to be 1.9 mm, the width of the slit should be adjusted to 2.1 mm)
Step 4. Adjust the rear drawing rod to adjust the cutting seam to the required position. Then tighten the two nuts (numbered 7, 8 in the figure) on the front and rear of the drawing rod, and lock the four bolts on each side of the single row.
The customer shall not adjust the fixing bolts and adjusting bolts of the automatic adjustment seam track (10 in the figure). The deviation of the front and rear rails of the factory standard is about 8 mm higher than the rear side. This height can be based on the thickness of the actual rotary cutting wood. Adjustment, generally do not need to adjust. If the knife bed is to be opened to the front and the end after adjustment, the rolling bearings on both sides must be in close contact with the auxiliary rail.
四.the controller operation instructions
1, thickness setting:
In the display standby screen, directly press the data plus / data minus button to set the thickness of the rotary cut. After setting, the system automatically confirms.
2, the width setting:
In the standby state, press the width button to directly enter the Width setting program. In this state, press the data plus / data minus button to adjust the width of the scorpion. After setting, the system automatically confirms. After 10 seconds, it will automatically return to the standby screen.
3, the tail knife width adjustment:
In the standby state, press the tail knife width button to directly enter the tailgate width setting program. In this state, press the data plus/data minus button to adjust the tail knife width. The tail knife width can be positive or It is a negative number. After setting, the system will automatically confirm and automatically return to the standby screen after 10 seconds.
4, system self-test:
In the standby state, press the second button (red) to display the self-test screen. At this time, the machine is started, the system performs the self-test status, and the self-test screen is automatically exited after the self-test is completed.
Fifth, equipment maintenance
Maintenance precautions
1. Cut off the power supply when performing all maintenance, lubrication and cleaning on the rotary cutting machine in accordance with the equipment instructions.
2. Do not carry on any live parts. It must be approved by the authorized person in charge to modify the general safety rules and always carry out specific dangerous operations in the presence of multiple people.
3. Before the work, be sure to check whether safety measures have been taken.
4. You must inform other operators that you have to carry out repairs and other work intentions.
5. Before starting the equipment, ensure that all keys, tools and cleaning tools have been removed from the equipment.
6. When the equipment is repaired or has a fault, be sure to put a warning sign, especially the power of the equipment.
Periodic inspection
1. To keep the performance of the equipment stable and safe, check the following frequency: Before the new equipment is tested, the moving parts such as the guide rail, the feed screw, the gearbox and the transmission gear should be filled with lubricating oil.
2. The feed screw, guide rail, transmission gear, transmission chain, etc. should be filled with lubricating oil every hour for 200 hours in the new machine. The feeding screws on both sides of the single and double roller bearing bushings should be filled with butter once within 15 days of the new machine, and the butter should be filled once every 15 days to ensure the durability of the equipment.
3. After the machine is working for 200 hours, each lubrication part is lubricated once every 2 hours.
4. Check the electrical control for every 200 hours of work.
5. Is the single and double roller motor belt loose or worn.
If you have any problems using the veneer peeling machine, you can contact our company in time.
